Apple sta introducendo un nuovo approccio per migliorare l’esperienza utente e il comfort dei suoi prodotti, in particolare per il Vision Pro. Una nuova applicazione iPhone potrebbe essere la soluzione per coloro che non possono recarsi in un Apple Store per una sessione di fitting personalizzata.
Cosa leggere
App per ottimizzare l’esperienza con Vision Pro
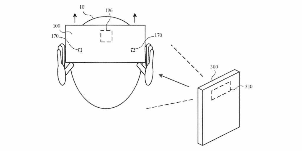
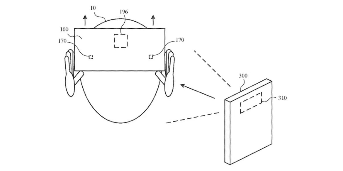
L’applicazione Vision Pro per iPhone è stata ideata per assistere gli utenti nella regolazione ottimale del dispositivo. Secondo una recente domanda di brevetto, Apple riconosce che anche una buona calzata iniziale può cambiare nel tempo e con l’uso. L’app “Fit Guidance for HMD” (Guida alla Calzata per Dispositivi Head-Mounted) fornirà agli utenti istruzioni su come scattare foto con il Vision Pro indossato e ricevere indicazioni per regolare la calzata per un utilizzo ottimale.
Come funziona l’App
Il processo suggerito dall’app inizia con la presa di una foto del viso dell’utente. Successivamente, mantenendo l’iPhone in una posizione che permetta di vedere l’utente mentre indossa il headset, l’app fornirà indicazioni per allineare correttamente il Vision Pro. Questo sistema è pensato per garantire che il dispositivo sia posizionato nella maniera più confortevole e funzionale possibile.
Benefici dell’App Vision Pro
Questa applicazione è particolarmente utile per coloro che non hanno facile accesso a un Apple Store per una sessione di fitting personalizzata. Inoltre, Apple suggerisce di utilizzare l’app periodicamente per assicurarsi che il dispositivo sia sempre allineato in modo ottimale, migliorando così l’esperienza complessiva dell’utente.
Iscriviti alla Newsletter
Non perdere le analisi settimanali: Entra nella Matrice Digitale.
Matrice Digitale partecipa al Programma Affiliazione Amazon EU. In qualità di Affiliato Amazon, ricevo un guadagno dagli acquisti idonei. Questo non influenza i prezzi per te.









